在平均海拔超过3600米的青海省玉树藏族自治州,医疗资源的相对稀缺和高原特殊环境为急危重症患者的救治带来了巨大挑战。在囊谦县人民医院,一场多学科、跨地域的生死营救,成功将一名急性大面积脑梗死伴脑疝形成的患者从死亡线上挽回,彰显了高原地区医疗救治能力的有效提升。
2025年10月11日,42岁的女性患者因突发左侧肢体无力、呕吐、意识障碍等症状被紧急送医。医院立即开启绿色通道,迅速完成头颅MRI检查,并在黄金时间窗内实施了阿替普酶静脉溶栓治疗。次日,患者病情急剧恶化,出现严重脑水肿并形成脑疝。虽曾考虑转往西宁进一步救治,但因路途遥远、转运风险巨大,加之患者家属对医院充满信任,最终决定留在囊谦县人民医院继续治疗。

面对生命垂危的患者和家属的托付,医院抢救团队没有丝毫懈怠。在我院青南支医队员周珉的主导下,组织县医院内科久杰才让等医师,汇集省级专家智慧,紧急连线我院神经外科孙永主任、检验科李满桂主任医师、神经内科马颖主治医师、身心疾病科孙永熬等专家,共同为患者制定了以脱水降颅压、抗感染和严密监护为核心的个体化治疗方案。

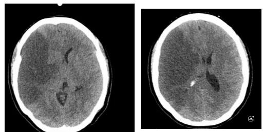
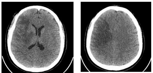
在医疗条件相对有限的高原县城,救治团队克服困难,对患者进行了不间断的严密监测,连续追踪头颅CT影像变化。经过数个日夜的坚守和精心治疗,患者的病情终于出现了转机。至10月22日复查显示,致命的脑疝得到缓解,脑水肿范围显著缩小,患者成功度过了最危险的阶段,病情逐步稳定下来。

此次成功救治,是基层医院危急重症应急处置能力、远程医疗协作效能以及医护人员不畏艰难、永不放弃精神的集中体现。青南支医医师周珉表示:“在高原地区,虽然医疗资源面临挑战,但通过规范的抢救流程、及时的远程会诊支持和团队的紧密协作,我们依然能够创造生命的奇迹,为患者赢得生机。”这场成功的救治不仅挽救了生命,更彰显了高原医务工作者尽心尽力、守护健康的坚定信念。


文/图:第七批青南支医囊谦分队
审核:阿尖措 董秋霞